22mm CAFE RACER LOOP O.D. 162mm - Rogue Motorcycles
MOTORCYCLE PARTS
  • MOTORCYCLE WEAR
  • LIFESTYLE
  • 21-0004

    22mm CAFE RACER LOOP O.D. 162mm

    Chopping up your Cafe Racer subframe? This 22mm (7/8") Cafe Racer Hoop will finish the job! Hoop Hoop Hooray !!

    • 180 degrees bend
    • 2mm High Quality Steel
    • 22mm pipe diameter 

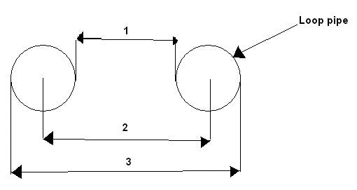
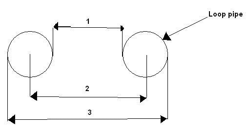
    Dimensions :

    1= approx 118 mm
    2= approx 140 mm
    3= approx 162 mm

    Liquid error (layout/theme line 305): Could not find asset snippets/preorder-me-widgets.liquid